While the Polaris program, which first took nuclear missiles beneath the sea, was a triumph of program management and engineering, the same could not be said for its replacement. That program, known as Trident, was the result of a mindbogglingly complicated bureaucratic fight, but its ultimate product, the UGM-133 Trident II, has already completed three decades as the backbone of NATO's deterrent, and is expected to serve at least another 20 years.

Trident's origins date back to the DOD under Robert McNamara, when, in an effort to kill a new Air Force ICBM program, they conducted a study to find the most cost-effective retaliatory force they could. Sea-based options (both submarine and surface) came out looking very good, although the surface-launched missile died out quite quickly, leaving only the Underwater Launch Missile System (ULMS). The initial plan for the submarine was to carry the missile in external canisters, which allowed much greater volume than the internal tubes of the Polaris submarines. That in turn was important because the Special Projects Office (SPO), the Navy group in charge of the Fleet Ballistic Missile (FBM) program, was trying to keep down development costs, and increased volume meant they could get more range without having to use new technology. The increased range would be particularly valuable in the face of potential improvements in Soviet ASW, a serious concern in the late 60s and early 70s. It also opened the possibility of "launch" at all depths, and of leaving the canisters so the submarine could be well away before the missile launched. Ultimately, this plan was shelved in favor of the Polaris/Poseidon scheme, as the advantages didn't seem worth the required changes.
Another decision made to keep costs down was the plan to use the reactor developed for the attack submarine Narwhal, which used natural circulation to cut noise significantly. This would result in a relatively slow submarine, but that was seen as acceptable, at least until news of the plan reached Admiral Rickover, the powerful head of Naval Reactors. Using an existing reactor would cut him out of the process, much as had happened with the Polaris boats, and he insisted that the submarine had to be able to reach 24 kts, as this speed would both frustrate Soviet sonar1 and, more importantly, require a new reactor. Rickover thus proposed a 30,000 ton boat2 with two reactors and a hull diameter of 50'. The SPO decided to go along with it, figuring that a Rickover submarine was better than no submarine, but the Office of the Secretary of Defense (OSD) was astonished at the cost of the proposed boat and rejected it out of hand.

Elmo Zumwalt
Into this mess was drawn Elmo Zumwalt, the new Chief of Naval Operations. While he personally preferred a design based on splitting the Los Angeles class SSN in half and inserting a missile compartment, he recognized that Rickover's support was vital to the success of the project, and came up with a scheme using only one of the new reactors which was at least vaguely reasonable. Unfortunately, this also meant shrinking the missile tubes to only slightly larger than the existing Poseidon tubes, which in turn prompted the SPO to question the need for a new submarine at all. It probably wouldn't be that much harder to design a missile that could fit into existing tubes, provided they gave up the commitment to minimize R&D work. Neither Zumwalt nor Rickover was happy about this, and Zumwalt, concerned about the growing Soviet threat, ordered that the concept, known as Extended Poseidon or EXPO, be withheld from the OSD. In the meantime, work began on nailing down the characteristics of ULMS, which saw it grow significantly compared to Poseidon.
Despite Zumwalt's orders, word of EXPO soon leaked, and a tremendous bureaucratic brawl ensued between the Zumwalt/Rickover camp, who favored the new missile with EXPO as a backup, the OSD, who wanted EXPO with the new missile to be introduced in the mid-80s, the Joint Chiefs of Staff, who wanted the new missile only to keep costs down, and even some who wanted EXPO to keep the deterrent going while they thought about the new missile for several years. OSD emerged the winner, although the term EXPO was dropped in favor of calling the Poseidon-sized missile ULMS I and the bigger missile ULMS II, soon changed to Trident I and Trident II.

Poseidon/Trident I (left) and Trident II
Arms-control considerations almost immediately entered the picture, with the Nixon Administration announcing a buildup of the FBM force to placate the hawks during the Strategic Arms Limitation Talks (SALT I) negotiations. The White House favored building a modernized Benjamin Franklin, an option OSD and the Navy scuttled by changing the in-service date for Trident II from 1981 to 1977 literally over a weekend and leaking it to the press to present Nixon with a fait accompli. The new boats would be much larger than their predecessors, both to carry the larger missile and because each would have 24 missiles instead of the 16 carried by the Polaris boats. In theory, this significantly lowered the cost per missile, although in reality, the decision had actually been for 12 missiles per boat, and the switch to 24 came when SecDef Melvin Laird misspoke during the announcement.

SSBNs under construction at Electric Boat
All of this left three separate programs running in parallel: the new submarines, which would ultimately be completed as the Ohio class, the Trident II missiles it was intended to carry, and the stopgap Trident I, which could fit the Poseidon boats. Problems with the submarine would reveal the wisdom of this precaution. Rickover had promised Congress that not only would he have the first boat ready by the end of 1977, but that it would be built under a fixed-price contract. Normally, the first boat of something as complicated as a new SSBN would be bid as a cost-plus contract, where the Navy pays whatever it costs the contractor, plus some fee, often determined by how closely they met the intended price. Rickover claimed that the first Ohio would be relatively low-risk, with the only new technology being the government-provided reactor, so a fixed-price contract was appropriate. Only two facilities build all of America's nuclear submarines, Newport News near Norfolk, Virginia, and Electric Boat of Groton, Connecticut. Both returned bids to finish Ohio at least 16 months behind schedule and neither was initially willing to offer a fixed-price contract. Newport News had plenty of other work, but Electric Boat only built submarines, and Rickover was able to browbeat them into taking on the new submarine as a fixed-price contract, with a promise of best efforts to finish by December 1977.

Pennsylvania on the surface
Electric Boat was already struggling to keep up with the contracts it had signed for a number of the Los Angeles class boats, and the additional work overwhelmed them. Ohio wasn't delivered until October 1981, after six extensions to the construction schedule and considerably over budget. The rest of the class followed at a rate of about one a year, although the 24-boat buy was cut to only 18 with the end of the Cold War. But despite the program problems, the result was the most capable SSBN ever built. Particular attention was paid to silencing, with the new natural circulation reactor able to operate without pumps at low speed. The result was that most unclassified estimates of radiated noise are in the double digit watts, making the submarines literally quieter than the ocean around them.3 The increased range of Trident allowed the boats to be based in American ports instead of forward-deployed, with new facilities established at Bremerton, Washington and King's Bay, Georgia. To speed turnaround, three of the escape trunks can be removed, leaving 6' logistics hatches which allow supplies to be brought aboard in pallets instead of being carried through the standard 26" hatches.

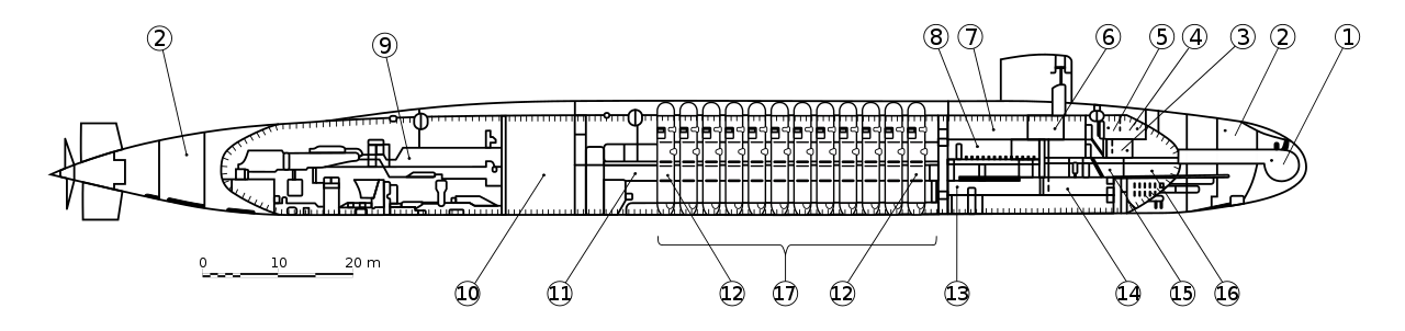
A cutaway of Ohio in SSBN configuration. (1) Sonar dome, (2) Main ballast tanks, (3) Computer room, (4) Integrated radio room, (5) Sonar room, (6) Command and control center, (7) Navigation center, (8) Missile control center, (9) Engine room, (10) Reactor compartment, (11) Auxiliary machinery room no. 2, (12) Crew's berthing (13) Auxiliary machinery room no. 1, (14) Torpedo room, (15) Wardroom, (16) Chief petty officer quarters, (17) Missile compartment
The drawdown in American nuclear forces in the 1990s saw the first four Ohios withdrawn from the nuclear deterrent role and refitted as guided missile submarines. 22 of the 24 missile tubes were refitted to carry 7 Tomahawks each, for a total of 154 missiles, although other payloads have been discussed. The last two tubes served the SSGN's secondary role as a special forces platform, serving as lockout chambers for swimmers. Up to 66 special forces personnel can be carried, along with a pair of Dry Deck Shelters, which can carry vehicles for the embarked troops. More recently, the New START treaty has seen 4 of the tubes on the remaining SSBNs deactivated, leaving only 20 on the active boomers. These boats are now in the twilight of their service lives, with the SSGNs to be replaced by the Block V Virginias, while the SSBN role will be taken over by the new Columbia class,4 which we will look at later. But first, we should turn our attention to the missiles themselves, which we will look at next time.
1 The theory was that a pursuing submarine going that fast wouldn't be able to hear the new SSBN, although this was far from certain. ⇑
2 I'm not sure if this was surfaced or submerged. If it's surfaced, it's about 4 times the displacement of the last Polaris boats. If submerged, only 3.5 times the size. In either case, it's a very big submarine. ⇑
3 This doesn't make them undetectable, as advanced signal processing can pull their regular signature out of the chaotic ocean background, but it does make them very hard to find. ⇑
4 There is an existing USS Columbia, one of the last Los Angeles class boats, and after its service life was extended, the Navy decided to rename the lead SSBN District of Columbia to avoid a collision. This was a good decision, as SSBNs should have terrifying names, and I can't think of anything better designed to strike fear into the heart of anyone who has had to deal with the federal bureaucracy. ⇑

Comments
Typo: You are missing the T in the word the....
of anything better designed to strike fear into the heart of anyone who has had to deal with he federal bureaucracy ^
Finally got the front page to load to see this. Gotta start using RSS again.
This explains where the Yes Minister "so it all comes down to trident... if it comes" "if it works" jokes came from. What a trainwreck.
That aside, the Boeing report on ULMS looks amazingly cool. Although if it had been adopted a few fishermen would probably have found nuclear missiles bobbing on the surface by now.
Comments seem Robert Borked
Perhaps this is a naive take, but how was Zumwalt not fired (or worse) for that stunt?
The Navy is going to study a lot of options, and pass the best ones on to OSD. So all he has to do is say "ULMS is the best, EXPO doesn't get passed along."